+52 56 6607 2846
ventas@sumyt.com
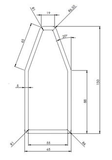
Viga de diseño exclivo fabricada en FRP para soporte de modulos lamelares
Folleto PDF.BIOdek-IFAS.aqui